









Фильтр FP предназначен для очистки воздуха, подаваемого в зону дыхания: под защитный шлем оператору абразивоструйной установки - при производстве работ в условиях сильно запыленной среды; в респиратор маляру – при производстве окрасочных работ; под маску сварщику – при производстве сварочных работ.
Воздушные фильтры серии FP с фильтрующими элементами FP-C могут использоваться вместе с другими компрессорными средствами защиты для подачи более чистого воздуха в воздушные респираторы. Их так же можно использовать для подачи более сухого, очищенного воздуха в пневматические инструменты и системы.
Воздушные фильтры серии FP с фильтрующими элементами FP-C могут использоваться для удаления воды, масла и мелких частиц, запахов и органических испарении., таким образом обеспечивая подачу более очищенного воздуха в оборудование или операторам. FP фильтр предназначен для работы с одним респиратором и легко преобразовывается в FP-2 для обслуживания дополнительных респираторов.
Корпус картриджа фильтра, полиэтиленовый, что устраняет опасность коррозии. Фильтр удаляет из подаваемого воздуха 98% твердых частиц размером до 0,5 мкм, влагу и масло до 0 класса по ГОСТ 17433 при незначительной потере давления.
Руководство по эксплуатации фильтра FP можно скачать тут >>>
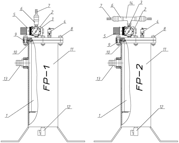
Примерное расположение комплекта оборудования можно посмотреть на схеме ниже:
Информация для заказа:
| Поз. | Арт. | Наименование | Поз. | Арт. | Наименование |
| 1 | 53001 | Картридж сменный FP-C | 8 | 53008 | Болт М12, гайка М12, шайба М12 |
| 2 | 53002 | Регулятор давления на выходе | 9 | 53009 | Прокладка фильтра |
| 3 | 53003 | Манометр | 10 | 53010 | Прокладка картриджа |
| 4 | 53004 | Клапан предохранительный | 11 | 53011 | Корпус фильтра |
| 5 | 53005 | Рукоятка регулировки давления | 12 | 53012 | Кран слива конденсата |
| 6 | 53006 | Соединение быстросъемное | 13 | 53013 | Штуцер подсоединения сж.воздуха |
| 7 | 53007 | Штуцер быстросъемный | 14 | 53014 | Тройник |
| Информация для заказа | |
| Артикул | Наименование |
| 53000 | Фильтр воздушный для дыхания оператора FP-1 |
| 53100 | Фильтр воздушный для дыхания двух операторов FP-2 |
| 53001 | Картридж сменный FP-C |
| Артикул фильтра | Размер,мм | Вес, кг |
| 53000 | 540х310х310 | 13,5 |
| 53100 | 540х310х310 | 13,6 |
| Прочие | ||
| ID поста блога для комментариев | 259 | |
| Модификация | FP-1 | |
| Модель | 53000 | |
| Описание | для одного поста | |
| Элемент каталога | Фильтр дыхания оператора FP [1716] | |
|
© 2011—2025 Blastanticor.ru Дальневосточный проспект, 79к1, Санкт-Петербург, 193079 Посмотреть на карте |
(812) 303-06-59 Email: sale@blastanticor.ru
|
Сайт использует необходимые для работы cookies. Продолжая использование, вы соглашаетесь с их применением. Подробнее в политике конфиденциальности