









|
Пескоструйные установки пневматические напорного типа "DBS" предназначены для очистки металлических и бетонных конструкций от корозии, старой краски и других наслоений и подготовки поверхности перед нанесением антикорозийных покрытий. Пескоструйная установка с объемом загружаемой емкости от 100 литров до 200 литров. Укомплектованны Блоком дистанционного управления (ДУ):вентиль ДУ, пульт ДУ, 40 м. сдвоенного рукава ДУ, набор фитингов. Установки могут комплектоваться средствами защиты органов дыхания, устройством дистанционного управления включения установки. |
|
|
Все пескоструйные аппараты Contracor ® оснащены эффективным воздушным фильтром-влагомаслоотделителем CAF-0 для предотвращения попадания в бак конденсата и масел от компрессора. Особенно это актуально при использовании старых компрессоров, работе при низких температурах или на большом расстоянии от компрессора. Фильтр CAF-0 удаляет до 98% конденсата и масел из сжатого воздуха. Это предотвращает перебои в работе, связанные с выгрузкой из бака отсыревшего абразива. |
| Руководство по эксплуатации можно скачать тут >>> |
| Абразивоструйные аппараты, комплектующие, СИЗ пескоструйщика, компоненты линии сжатого воздуха. Каталог продукции скачать тут >>> |
| Для питания пескоструйной установки используется сжатый воздух, очищенный от влаги и масла до 2-го класса, давлением 5-7 кгс/см2 и расходом 3-12 м3/мин в зависимости от диаметра сопла (см. табл.2). В качестве абразивного материала должны применяться следующие материалы: стальная или чугунная дробь фракцией 0,1-2,0мм; стальной песок марки СП-17 с размером фракции зерна 0,4-1,6мм; электрокорунд или карбид кремния зернистостью 32, 40, 50, 63, 80, 100, 125 по ГОСТ 3647 с размером частиц 0,4-1,6мм. Абразив должен быть сухим, чистым, не содержать следов масла, грязи, ржавчины |
| Таблица производительности пескоструйных аппаратов | ||||||
| Диаметр сопла,мм |
|
6,5 | 8,0 | 9,5 | 11,0 | 12,5 |
|
Расход воздуха в м3/мин при давлении 8 бар |
|
4,2 | 6,6 | 9,0 | 11,6 | 16,1 |
| Средняя производительностьв м2/ч | SA 2 | 10 | 15 | 21 | 28 | 37 |
| SA 2 1/2 | 5 | 9 | 14 | 21 | 28 | |
| SA 3 | 4 | 6 | 9 | 13 | 17 | |
| Средний расход абразива в кг/м2 | SA 2 | 40 | 35 | 32 | 29 | 28 |
| SA 2 1/2 | 58 | 51 | 46 | 42 | 40 | |
| SA 3 | 78 | 68 | 62 | 56 | 54 | |
| Расчет требуемого количества сжатого воздуха (м3/мин.) | ||||
| Диаметр сопла, мм | Потребляемый объем воздуха | Плюс шлем | Плюс 50% резерв | Минимально требуемый объем воздуха |
| 6.5 | 2.3 | 0.5 | 1.4 | 4.2 |
| 8.0 | 3.9 | 0.5 | 2.2 | 6.6 |
| 9.5 | 5.5 | 0.5 | 3.0 | 9.0 |
| 11.0 | 7.2 | 0.5 | 3.9 | 11.6 |
| 12.5 | 9.6 | 0.5 | 5.0 | 16.1 |

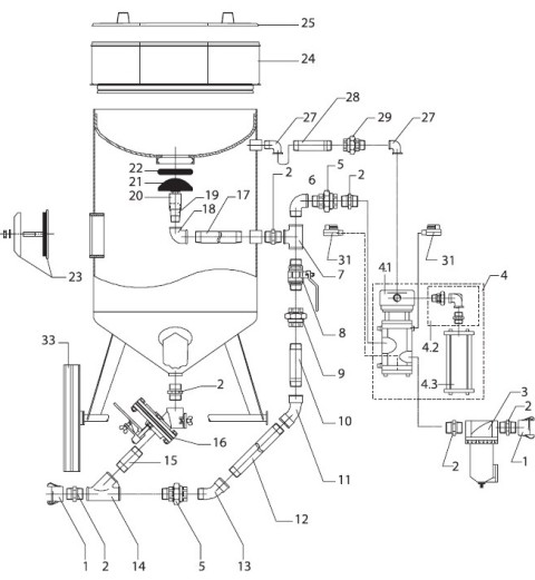
| № поз. | Код зак. | Описание | Количество | |
| DBS-100RC | DBS-200RC | |||
| 1 | 10900 | Сцепление байонетное, CFT | 2 | 2 |
| 2 | 10911 | Ниппель 1 1/4” (ПП), обрезиненный | 6 | 6 |
| 3 | 10930 | Фильтр—влагомаслоотделитель, CAF—3 | 1 | 1 |
| 4 | 10970 | Блок ДУ с глушителем, RCV | 1 | 1 |
| 4.1 | 10971 | Клапан ДУ | 1 | 1 |
| 4.2 | 10972 | Соединение угловое в сборе | 1 | 1 |
| 4.3 | 10975 | Глушитель RCV | 1 | 1 |
| 5 | 10915 | Муфта с накидной гайкой, прямая, 1 1/4”, (МП) /”американка”/ | 3 | 2 |
| 6 | 10909 | Угольник, 90°, 1 1/4” (МП) | 1 | 1 |
| 7 | 10910 | Тройник, 90°, 1 1/4”, (МММ) | 1 | 1 |
| 8 | 10942 | Кран шаровый, 1 1/4”, (ПП) | 1 | 1 |
| 9 | 10913 | Муфта с накидной гайкой, прямая, 1 1/4”, (ММ) /”американка”/ | — | 1 |
| 10 | 10914 | Труба 1 1/4” | — | 1 |
| 11 | 10916 | Угольник, 45°, 1 1/4” (ММ) | 1 | 1 |
| 12 | 10917 | Труба 1 1/4” | 1 | 1 |
| 13 | 10919 | Угольник, 45°, 1 1/4” (МП) | 1 | 1 |
| 14 | 10990 | Тройник 45° 1 1/4” (МММ), обрезиненный | 1 | 1 |
| 15 | 10921 | Трубка 1 1/4”, (100 мм), обрезиненная | 1 | 1 |
| 16 | 10920 | Вентиль дозирующий, шиберного типа, FSV | 1 | 1 |
| 17 | 10952 | Труба 1” | 1 | 1 |
| 18 | 10953 | Угольник 90°, 1”, (ММ) | 1 | 1 |
| 19 | 10954 | Труба 1” | 1 | 1 |
| 20 | 10955 | Направляющая | 1 | 1 |
| 21 | 10960 | Клапан герметизирующий | 1 | 1 |
| 22 | 10950 | Седло герметизирующего клапана | 1 | 1 |
| 23 | 10932 | Сервисный узел бака DBS, комплект | 1 | 1 |
| 24 | 10935 | Сито | 1 | — |
| 24 | 10936 | Сито | — | 1 |
| 25 | 10933 | Крышка бака | 1 | — |
| 25 | 10934 | Крышка бака | — | 1 |
| 27 | 10956 | Угольник, 90°, 3/4” (ПМ) | 2 | 2 |
| 28 | 10958 | Труба 3/4” | 1 | 1 |
| 29 | 10957 | Муфта с накидной гайкой, прямая, 3/4” (ММ) /”американка”/ | 1 | 1 |
| 31 | 10828 | Кран шаровый ДУ, 1/4” | 2 | 2 |
| 33 | 10922 | Колесо | 2 | — |
| 33 | 10923 | Колесо | — | 2 |
| Прочие | ||
| Наши предложения | Новинка / Хит продаж / Рекомендуем | |
| Код заказа | 10400 | |
| ID поста блога для комментариев | 11 | |
| Бесплатная доставка | Да | |
| С этим товаром рекомендуем | Шлем защитный пескоструйщика VECTOR / Фильтр очистки воздуха дыхания BAF / Костюм пескоструйщика Вектор / Сопло абразивоструйное Карбид Бора NBC-6,5 | |
| Модель | DBS-200 RC | |
| Элемент каталога | Установки абразивоструйные напорного типа DBS-100 RC / DBS-200 RC (с дистанционным управлением) [326] | |
| Диаметр бака, мм | 609 | |
| Высота бака, мм | 1480 | |
| Вес, кг | 155 | |
| Емкость бака, л | 200 | |
| Макс. рабочее давление, бар | 12 | |
| Рабочая температура, °C | -10 / 50 | |
|
© 2011—2025 Blastanticor.ru Дальневосточный проспект, 79к1, Санкт-Петербург, 193079 Посмотреть на карте |
(812) 303-06-59 Email: sale@blastanticor.ru
|
Сайт использует необходимые для работы cookies. Продолжая использование, вы соглашаетесь с их применением. Подробнее в политике конфиденциальности